横浜女学院中学 算数 2020年度A入学試験問題 問6 軌跡の過去問解答・解説です。
問題
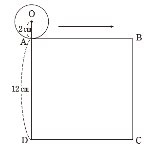
図のように、半径2cmの円Oと1辺の長さが12cmの正方形ABCDがあります。円Oは点Aから出発して、正方形の周りを時計回りに動きます。
このとき、次の各問いに答えなさい。
⑴円Oが正方形ABCDの周りを1周してもとの位置に戻ったとき、円Oの中心が移動した距離は何cmですか。
⑵円Oが正方形ABCDの周りを1周してもとの位置に戻ったとき、円Oが通った部分の面積は何cm2ですか。
⑶円Oの中心が移動した距離が90.84cmのとき、円Oは正方形の頂点A、B、C、Dのうち、どこにいますか。
引用元:横浜女学院中学校 2020年度A入学試験問題 算数 問6
解答・解説
※解説未掲載
答え:(1)60.56cm (2)242.24cm2 (3)頂点C




