佼成学園中学 算数 2025年度入学試験問題(第1回) 問2-(6) 回転体の過去問解答・解説です。
問題
次の にあてはまる数を書きなさい。
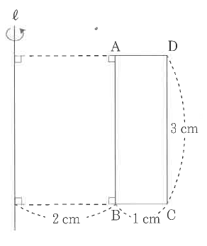
引用元:佼成学園中学校 2025年度入学試験問題(第1回) 算数 問2-(6)次の図のような長方形ABCDを、直線ℓのまわりに1回転させてできる立体の体積は cm3です。
解答・解説
※解説未掲載
答え:47.1
「佼成学園中学」に関連する過去問書籍
関連サービス
「佼成学園中学」の過去問記事
佼成学園中学の算数過去問の解答・解説のデータベースです。中学受験における各年度の算数過去問・解答・解説を無料で印刷・ダウンロードすることができます。(解説は未掲…
metablo-g.com
前の問題記事
佼成学園中学 算数 2025年度入学試験問題(第1回) 問2-(5) 角度の過去問解答・解説です。
metablo-g.com
次の問題記事
佼成学園中学 算数 2025年度入学試験問題(第1回) 問3 規則性の思考問題の過去問解答・解説です。
metablo-g.com



